- Trang chủ
- /
- Kiến thức chuyên ngành
- /
- Máy phát điện có ATS tự động là gì? Tìm hiểu về tủ ATS và nguyên lý hoạt động
Máy phát điện có ATS tự động là gì? Tìm hiểu về tủ ATS và nguyên lý hoạt động
Trong các hệ thống cấp điện dự phòng hiện đại, máy phát điện có tủ ATS tự động đang trở thành lựa chọn hàng đầu cho các doanh nghiệp, tòa nhà, nhà máy sản xuất và cả hộ gia đình nhờ khả năng chuyển đổi nguồn điện hoàn toàn tự động. Khi điện lưới xảy ra sự cố, hệ thống sẽ nhanh chóng kích hoạt máy phát điện và cấp điện trở lại chỉ trong vài giây, đảm bảo hoạt động không bị gián đoạn.
Vậy tủ ATS máy phát điện là gì, cấu tạo và nguyên lý hoạt động ra sao? Có những loại tủ ATS nào trên thị trường và nên lưu ý gì khi lắp đặt? Hãy cùng Trung Điện Hà Nội tìm hiểu chi tiết trong bài viết dưới đây.
Tủ ATS máy phát điện là gì?
Tủ ATS máy phát điện (Automatic Transfer Switch) là thiết bị tự động có chức năng chuyển đổi nguồn điện giữa điện lưới và máy phát điện trong các hệ thống cấp điện dự phòng. Nhờ vào cơ chế làm việc thông minh, máy phát điện có ATS tự động giúp đảm bảo cung cấp nguồn điện liên tục và ổn định cho các hoạt động sản xuất, kinh doanh hoặc sinh hoạt, ngay cả khi điện lưới gặp sự cố.
Tủ ATS máy phát điện sẽ nhanh chóng gửi tín hiệu khởi động máy phát khi mất điện lưới. Sau vài giây, khi máy phát ổn định, tủ sẽ tự động đóng điện và cấp nguồn cho tải. Khi điện lưới phục hồi, ATS lại tự động chuyển nguồn về hệ thống chính và tắt máy phát. Toàn bộ quá trình này thường diễn ra chỉ trong 5–10 giây chuyển sang nguồn dự phòng và 10–30 giây khi chuyển lại nguồn lưới, hoàn toàn không cần can thiệp thủ công.
Không chỉ có chức năng chuyển đổi nguồn, tủ ATS máy phát điện còn đóng vai trò như một thiết bị bảo vệ, giúp hệ thống điện tránh được các rủi ro do sự cố chập cháy, quá tải hoặc ngắn mạch.

Cấu tạo tủ ATS máy phát điện
Tủ ATS máy phát điện là bộ phận quan trọng giúp máy phát điện có ATS tự động hoạt động hiệu quả và chính xác. Tủ được thiết kế chuyên biệt với các thành phần chính như sau:
1. Vỏ tủ điện
Vỏ tủ được làm từ thép tấm dày 2–3mm, phủ sơn tĩnh điện chống gỉ sét, đảm bảo độ bền cao trong điều kiện môi trường khắc nghiệt. Thiết kế dạng panel hoặc khung giá, có khóa an toàn và linh hoạt trong lắp đặt. Kích thước tủ đa dạng, tùy theo công suất và quy mô hệ thống điện.
2. Thiết bị đóng cắt
Bao gồm khởi động từ với cơ chế khóa chéo liên động điện, dòng điện từ 9A đến 800A, đảm bảo an toàn trong chuyển đổi nguồn. Đây là bộ phận thực hiện đóng/ngắt giữa nguồn điện lưới và máy phát.
3. Bộ điều khiển (ATS Controller)
Tủ ATS sử dụng bộ điều khiển chuyên dụng đến từ các thương hiệu uy tín như Osung, Socomec, Schneider, Osemco...
Hệ thống điều khiển có thể lập trình tùy biến, sử dụng rơ le logic hoặc PLC mini (với các ứng dụng phức tạp), đảm bảo khả năng tự động hóa và phản hồi chính xác khi có sự cố nguồn.
4. Các linh kiện khác trong tủ ATS máy phát điện
- Thanh trung tính, đèn báo pha, gen nhựa, công tắc chuyển mạch 2–3 vị trí
- Relay bảo vệ điện áp chuyên dụng: chống sụt áp, quá áp, mất pha, sai thứ tự pha
- Hệ thống đèn báo vận hành:
-
MAIN: báo có điện lưới
-
GEN: báo có điện máy phát
-
MAIN ON LOAD: tải đang dùng điện lưới
-
GEN ON LOAD: tải đang dùng điện máy phát
-
GOOD: điện lưới đạt chuẩn
-
ERROR: điện lưới không đạt
- Công tắc điều khiển chế độ ATS
MAIN – AUTO – GEN: chuyển đổi chế độ hoạt động của ATS
-
MAIN: cấp điện lưới cho tải (bỏ qua tự động)
-
GEN: cấp điện từ máy phát cho tải
-
AUTO: chuyển nguồn tự động hoàn toàn
AUTO – OFF – TEST: chế độ điều khiển máy phát điện
-
TEST: chạy thử máy phát dù có điện lưới
-
AUTO: chế độ tự động
-
OFF: tắt máy hoàn toàn
Ngoài ra, một số tủ ATS máy phát điện hiện đại còn được tích hợp chức năng điều khiển từ xa, giúp người dùng dễ dàng giám sát và quản lý hệ thống điện mọi lúc, mọi nơi.

Chức năng hoạt động của tủ ATS máy phát điện
Trong hệ thống máy phát điện có ATS tự động, tủ ATS máy phát điện đóng vai trò điều khiển trung tâm, đảm bảo chuyển đổi nguồn điện diễn ra an toàn, chính xác và hoàn toàn tự động. Dưới đây là các chức năng nổi bật của tủ ATS:
- Tủ ATS có cơ chế thời gian trễ giữa việc ngắt máy phát và đóng lại điện lưới, giúp máy phát không bị sốc điện, bảo vệ động cơ và các linh kiện bên trong khỏi hư hại.
- Thời gian chuyển tải sang máy phát thường được thiết lập tối thiểu >5 giây, nhằm đảm bảo máy phát đã khởi động và đạt trạng thái hoạt động ổn định trước khi cấp điện cho tải.
- Khi điện lưới trở lại bình thường, tủ ATS máy phát điện sẽ tự động chuyển phụ tải trở về điện lưới. Đồng thời, máy phát tiếp tục chạy làm mát trong khoảng 30 giây đến 10 phút trước khi tự động tắt.
- Người dùng có thể lựa chọn chế độ AUTO để hệ thống hoạt động hoàn toàn tự động hoặc chuyển sang chế độ MANUAL để vận hành thủ công khi cần.
- Tủ ATS cho phép cài đặt thời gian chuyển nguồn theo nhu cầu thực tế, giúp kiểm soát linh hoạt quá trình chuyển đổi và tránh gây sốc tải.
- Đèn báo hiệu cho biết nguồn điện hiện đang sử dụng là từ điện lưới hay máy phát, giúp người vận hành theo dõi tình trạng hệ thống một cách trực quan và nhanh chóng.

Phân loại hệ thống tủ ATS máy phát điện
Việc lựa chọn tủ ATS máy phát điện phù hợp với nhu cầu và quy mô sử dụng là rất quan trọng. Hiện nay trên thị trường, tủ ATS được phân loại dựa trên số lượng nguồn kết nối và công suất sử dụng, cụ thể như sau:
Phân loại theo số nguồn điện:
-
Tủ ATS 1 nguồn điện lưới – 1 nguồn máy phát điện dự phòng: Đây là loại tủ chuyên dùng trong các tòa nhà cao tầng, chung cư, nhà máy sản xuất hoặc văn phòng quy mô vừa đây là loại tủ được sử dụng phổ biến nhất.
-
Tủ ATS 2 nguồn điện lưới – 1 nguồn máy phát điện: Loại tủ này thường được sử dụng trong khu công nghiệp lớn hoặc nhà máy sản xuất quy mô cao, nơi có hai nguồn điện lưới độc lập để thay phiên nhau vận hành và bảo trì. Máy phát chỉ hoạt động khi cả hai nguồn điện lưới đều gặp sự cố.
-
Tủ ATS 1 nguồn điện lưới – 2 nguồn máy phát điện dự phòng: Dùng trong các hệ thống yêu cầu độ dự phòng cao, như trung tâm dữ liệu, bệnh viện, sân bay…. Khi mất điện, hệ thống sẽ linh hoạt chuyển đổi giữa hai máy phát để duy trì nguồn điện liên tục.
Phân loại theo công suất tủ ATS:
-
Tủ ATS từ 100A đến 400A: Dòng này sử dụng khởi động từ (Contactor), phù hợp với hệ thống điện dân dụng, nhà xưởng quy mô vừa và nhỏ. Thiết kế nhỏ gọn, chi phí hợp lý, dễ lắp đặt và bảo trì.
-
Tủ ATS từ 800A trở lên (đến hàng ngàn ampe): Đối với hệ thống tải lớn, tủ ATS sử dụng máy cắt khí (ACB hoặc MCCB công suất lớn) để đảm bảo độ bền, độ ổn định và khả năng đóng cắt mạnh mẽ trong môi trường công nghiệp nặng.
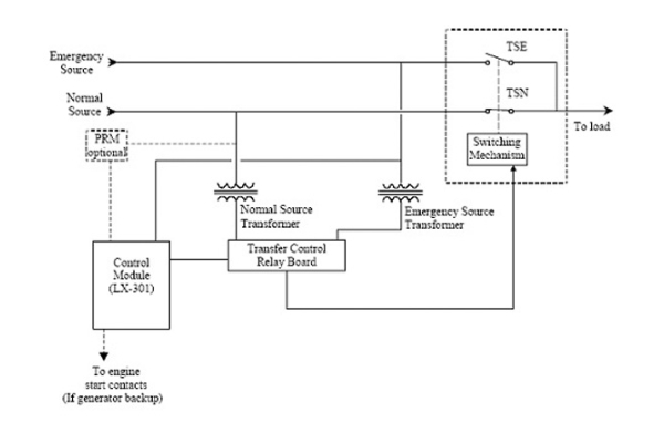
Nguyên lý hoạt động của tủ ATS máy phát điện
Nguyên lý hoạt động của tủ ATS dựa trên quá trình giám sát điện áp và tự động điều khiển chuyển mạch khi phát hiện bất kỳ sự cố nào từ nguồn chính. Khi điện lưới mất hoặc không ổn định, tủ ATS máy phát điện sẽ ngay lập tức gửi tín hiệu khởi động máy phát. Sau khi máy phát hoạt động ổn định, khối chuyển mạch trong ATS sẽ chuyển tải từ nguồn điện lưới sang máy phát. Khi điện lưới phục hồi, hệ thống tự động ngắt tải khỏi máy phát, chuyển trở lại dùng điện lưới và tắt máy phát sau một khoảng thời gian chạy làm mát.
-
Tủ ATS vận hành dựa trên hai chế độ:
- Chế độ tự động: hệ thống tự cảm biến sự cố điện và chuyển đổi nguồn.
- Chế độ thủ công: người vận hành chủ động điều khiển chuyển mạch giữa hai nguồn theo nhu cầu.
-
Hệ thống chuyển mạch của ATS bao gồm:
- Khối điều khiển: nhận tín hiệu và ra lệnh đóng/mở mạch, yêu cầu công suất đóng cắt lớn, có khả năng xử lý dòng điện cao gấp nhiều lần dòng định mức.
- Khối chuyển mạch: chuyển đổi tải giữa các nguồn, thường hoạt động theo 3 cơ chế chính: Công tắc tơ (Contactor), Áp-tô-mát (CB – Circuit Breaker), công tắc kiểu bập bênh (Manual switch)

Với tủ ATS lưới – lưới, phần chuyển mạch thường có 3 cực (dành cho nguồn 3 pha), còn dây trung tính dùng chung. Trong khi đó, tủ ATS máy phát điện thường sử dụng 4 cực, giúp chuyển mạch luôn cả dây trung tính, đảm bảo an toàn và ổn định hơn.
Ngoài ra, ở các dòng máy phát điện có ATS tự động cao cấp, tủ ATS còn được tích hợp chức năng hòa đồng bộ nhiều máy phát điện, giúp phân tải thông minh và đảm bảo nguồn điện không gián đoạn ngay cả khi có sự cố lớn hoặc nhu cầu tải tăng cao.
Hướng dẫn kết nối tủ ATS với máy phát điện
Để hệ thống máy phát điện có ATS tự động hoạt động chính xác, việc kết nối tủ ATS máy phát điện đúng kỹ thuật là yếu tố then chốt. Có 3 phương pháp kết nối phổ biến giữa tủ ATS và máy phát điện phổ biến như sau:
Phương pháp 1: Kết nối tủ ATS với máy phát điện qua cổng truyền thông hiện đại
Đây là phương pháp kết nối tiên tiến, thường sử dụng các chuẩn truyền thông như Modbus, RS485 hoặc Ethernet. Cách kết nối này yêu cầu khả năng lập trình chuyên sâu và thường được áp dụng trong các nhà máy lớn có hệ thống điều khiển nội bộ (SCADA hoặc BMS). Kiểu kết nối này hiện vẫn chưa phổ biến tại các doanh nghiệp nhỏ và vừa.
Phương pháp 2: Kết nối tín hiệu điều khiển tủ ATS với máy phát điện qua cổng điều khiển ngoài
Nhiều dòng máy phát điện nhập khẩu có cổng tín hiệu đầu vào/ra (I/O), cho phép kết nối nhanh với tủ ATS để nhận tín hiệu khởi động, tắt máy hoặc báo trạng thái. Kiểu kết nối này cũng áp dụng được cho các thiết bị khác như máy nén khí, chiller,… Nếu bạn sử dụng chức năng điều khiển từ xa, kiểu kết nối này sẽ rất phù hợp và được ứng dụng phổ biến.

Phương pháp 3: Kết nối điện lưới trực tiếp vào bảng điều khiển máy phát điện
Phương án này chỉ áp dụng khi bảng điều khiển máy phát hỗ trợ chức năng ATS control tích hợp sẵn. Lúc này, việc kết nối trở nên đơn giản, không cần bộ lập trình riêng. Bạn chỉ cần dùng hai MCCB và một khóa chéo điện cơ, kết nối trực tiếp từ bảng điều khiển đến tủ ATS.
Lưu ý: Trong trường hợp tủ ATS đặt xa máy phát điện hoặc MCCB có dòng lớn, không nên truyền nguồn nuôi cuộn hút MCCB qua tiếp điểm bảng điều khiển. Thay vào đó, nên sử dụng rơ le trung gian để đảm bảo an toàn và độ ổn định cho hệ thống.
Lưu ý khi chuyển nguồn bằng tủ ATS máy phát điện
Trong hệ thống máy phát điện có ATS tự động, việc chuyển đổi nguồn điện phải được thực hiện nhanh chóng và an toàn để đảm bảo nguồn điện liên tục và ổn định. Một số lưu ý quan trọng khi vận hành tủ ATS máy phát điện như sau:
- Tủ ATS bao gồm hai công tắc chuyển mạch cơ khí, điều khiển việc kết nối giữa nguồn điện lưới (chính) và nguồn máy phát điện (dự phòng).
- Khi điện lưới gặp sự cố, tủ ATS phải đảm bảo thời gian chuyển đổi ngắn nhất, giúp các thiết bị không bị mất điện đột ngột và duy trì hoạt động liên tục.
- Khi nguồn điện lưới được phục hồi ổn định, hệ thống tự động ngắt tải khỏi máy phát, đồng thời chuyển ngược lại sang nguồn điện lưới để tiếp tục cấp điện cho phụ tải.
Lựa chọn hệ thống tủ ATS phù hợp
Việc lựa chọn tủ ATS máy phát điện công nghiệp phù hợp không chỉ phụ thuộc vào công suất máy phát, mà còn cần cân nhắc nhiều yếu tố kỹ thuật và môi trường sử dụng. Để tối ưu hiệu quả cho máy phát điện có ATS tự động, bạn cần lưu ý:
- Tính toán chính xác mức công suất tiêu thụ sẽ giúp chọn tủ ATS có dòng điện định mức phù hợp, tránh quá tải hoặc lãng phí đầu tư.
- Đảm bảo sự tương thích giữa hệ thống ATS, máy phát điện và nguồn điện lưới đầu vào.
- Nhiệt độ, độ ẩm, bụi bẩn, và điều kiện môi trường ảnh hưởng đến lựa chọn vỏ tủ, vật liệu cách điện và tiêu chuẩn chống bụi, chống nước (IP).
- Các tủ ATS hiện đại hỗ trợ báo cáo trạng thái, cảnh báo lỗi, lập lịch hoạt động tự động thông qua hệ thống SCADA hoặc BMS doanh nghiệp.

Đơn vị cung cấp tủ ATS máy phát điện uy tín tại Việt Nam
Nếu bạn đang tìm kiếm một đơn vị cung cấp máy phát điện có ATS tự động uy tín, Điện Trung Hà Nội là lựa chọn đáng tin cậy hàng đầu hiện nay. Với nhiều năm kinh nghiệm trong ngành điện – năng lượng, đơn vị không chỉ phân phối máy phát điện nhập khẩu từ các thương hiệu quốc tế, mà còn thiết kế hệ thống điện dự phòng trọn gói cho nhà máy, khu công nghiệp, tòa nhà văn phòng, bệnh viện, trường học… Với đội ngũ kỹ thuật chuyên sâu, tư vấn tận nơi, lắp đặt nhanh chóng, hỗ trợ kỹ thuật 24/7. Liên hệ ngay với Trung Điện Hà Nội qua hotline để được tư vấn chi tiết, báo giá tủ ATS, máy phát điện chính hãng và giải pháp phù hợp với doanh nghiệp của bạn!
Đối tác chính









